12、教师评价
教师评价通过教学成绩评价、课时工作量评价、学生问卷评教、教师互相评价、教师发展与考核评价五个指标分析,对教师的教学水平、工作量、工作成果、业务能力等进行多维度的评价,并可通过自设参数综合汇总五个指标的评价并给予教师综合评分,为学校提供科学的教师评价系统。
- 教学成绩评价:与成绩分析系统相结合,通过历史成绩对比分析计算教师成绩增量,完成成绩增量评价,支持平均分增量评价、排名增量评价、上线率增量评价等多种方式。
- 课时工作量评价:与排课系统相结合,通过引用排课课表结果,统计计算教师工作量。
- 学生问卷评教:通过发布学生问卷调查,在线收集学生评价教师结果。
- 教师互相评价:通过发布问卷调查,完成教师互相评价,支持教师同级之间的评价、领导对教师的评价、教师对领导的评价、自评等等。
- 教师发展与考核评价:由学校自定义建立本校发展/考核三级指标,被评价教师提交数据与材料,评审教师审核并评分,完成对教师的发展与考核评价,可以对教师评优、履职、期末考核、职称评定等多方面进行考核及评价。
- 综合汇总评价:对上述评价设置权重,综合汇总评价报告。
12.4、教师互相评价(学校管理员端)
12.4.1、问卷试题设置
教师互评调查问卷试题为自定义式,由学校自定义评价维度与调查问卷试题。
试题评价维度设置
如下图所示,评价维度指教师互评调查问卷从哪个维度对教师进行评价,如备课、授课、课堂纪律、课后辅导等,由学校自行增加、删除、修改。每个评价维度包括:名称、描述。
试题组设置
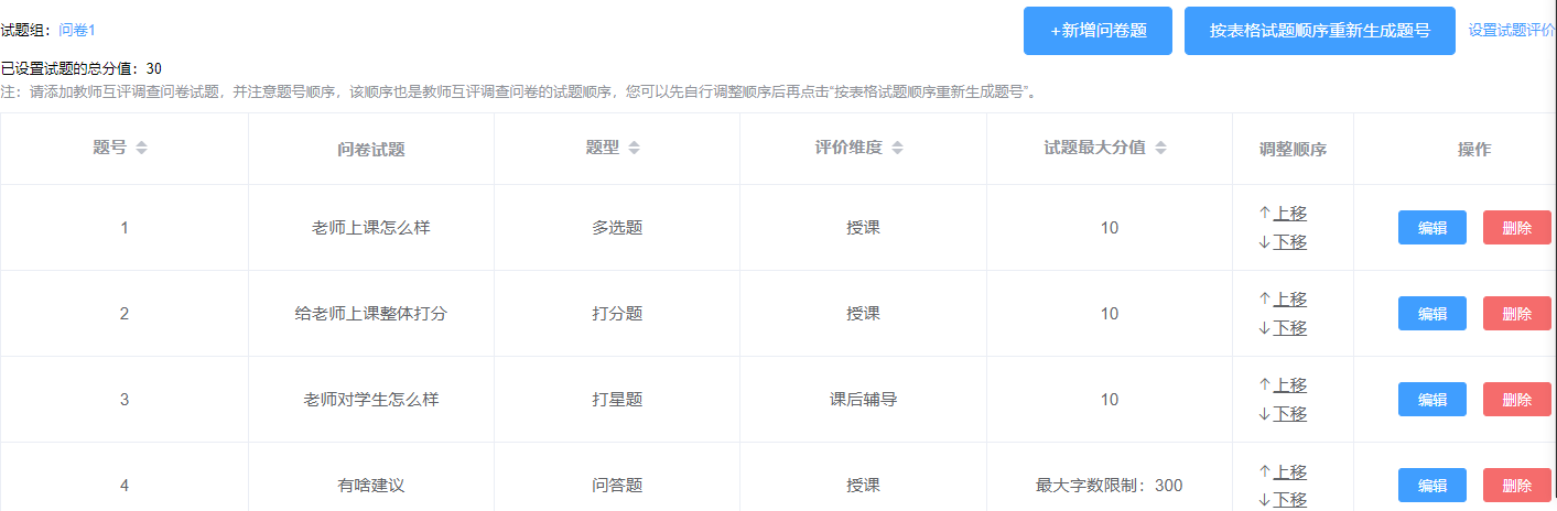
问卷调查的具体试题在这里创建,每次发布给教师互评调查问卷时可以使用本试题,引用后对于每次的教师互评调查问卷任务均可以修改问卷题,支持由学校自行增加、删除、修改。
调查问卷试题组可以创建多组,点击上图操作列的“试题设置”进入本试题组的具体调查问卷试题的设置,如下图所示可以创建多种调查问卷试题题型,包括:单选题、多选题、打星题、打分题、问答题。
12.4.2、教师互相评价
教师互相评价采用任务式管理,每次需要教师之间互评时创建一个评价任务,支持多个年级教师一起评价,任务页面如下图所示,包括:新增、编辑、删除、进入教师互评管理、转为历史数据5种操作。点击操作列的“教师互评管理”按钮进入教师互相评价任务的教师互评管理页面。采用步骤式完成教师互相评价的任务管理,包含4步:问卷调查试题设置、评价设置、发布评价、结果统计。学校管理员端创建并发布教师互评调查问卷,教师在线互相评价,学校管理员端、教师端实时查看调查问卷结果。
12.4.2.1、问卷调查试题设置
在创建教师互评任务时需要引用基础设置中的问卷试题,可以根据需要对该试题组进行编辑修改。具体操作与试题组设置的调查问卷试题操作一样。
12.4.2.2、评价设置
设置完具体调查问卷后,设置本次调查问卷的评价方式、评价时间、评价对象,其中评价方式包括:自评、互评、自评+互评三种,评价对象是指由哪些教师对哪些教师进行评价,如下图所示。
12.4.2.3、发布评价
设置完成前3步后可以发布评价,只有已发布且在评价时间范围内的评价任务,学生登录后才能进行在线评价、教师端可以实时查看评价结果。支持延时、提前结束、取消发布等操作,如下图所示。
12.4.2.4、结果统计
对于已发布的评价,支持实时统计评价结果,包括查询评价完成度、评价结果统计、问答题评价。
12.4.2.4.1、完成度
点击完成度,可以查看当前教师互相评价的完成度,包括按评价教师进度、被评价教师进度。
评价教师进度
以评价教师为统计对象,统计评价他人的教师完成情况,由于每个评价人需要对多名教师进行评价,评价人在一个个评价过程中从未完成到部分完成到全部完成,这里为评价人完成度的详细统计表以及未完成评价人名单,均支持导出excel表,如下图所示。
被评价教师进度
以被评价的教师为统计对象,统计需要对该教师进行评价的总人数、已完成评价的人数,支持按照年级、科目、教师进行筛选查询,如下图所示。
12.4.2.4.2、评价结果统计
评价结果统计为统计教师的问卷调查总均分,包括自评分、互评均分、自评+互评的加权均分,支持按照年级、科目、教师进行筛选查询。如下图所示。支持导出excel表统计结果,支持查询评价详情。
12.4.2.4.3、问答题评价
问答题支持下载所有教师评价的具体评语,如下图所示。
12.4.3、教师互相评价(教师端)
学校管理员创建发布教师互相评价后,教师可以实时查看自己的评价结果,教师登录后可以看到与自己相关的评价任务,点击“进入问卷评价”查看具体的评价结果,包括我提交的评价、我收到的评价。
我提交的评价
作为评价人需要对其他教师进行评价及其自评时,在这里提交评价数据、查询自己提交的评价结果,如下图所示。
我收到的评价
作为被评价人在其他人对自己完成评价后,支持实时查询我的评价结果,如下图所示。












